434APKL-36
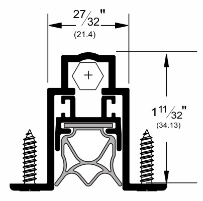
36" Full Mortise Automatic Door Bottom in Mill Finish Aluminum with Black PemkoPrene Insert
Looking for another option? See all Pemko 434 Series products.
434APKL-36
36" Full Mortise Automatic Door Bottom in Mill Finish Aluminum with Black PemkoPrene Insert
Looking for another option? See all Pemko 434 Series products.