If you experience issues with our new site, you can still place orders at bannersolutions.com
Top Brands
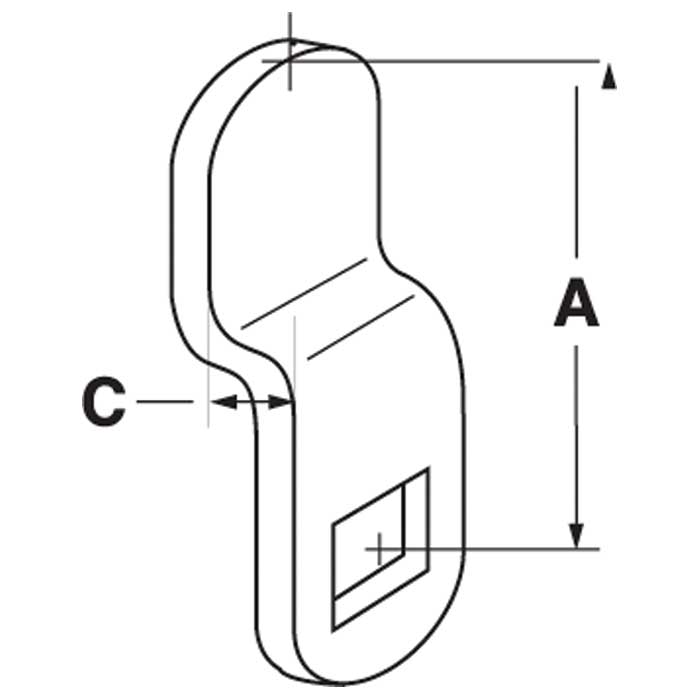
OF2408
1 1-1/2 inchx 1/2 inchx 1/4 inch Standard Cam
Stainless Steel
Looking for another option? See all CompX Fort Auxiliary Lock products.
Choose a file or drag & drop it here